مقدمه
فلومترهای جرمی سری Promass از شرکت Endress+Hauser یکی از پیشرفتهترین تجهیزات ابزار دقیق در صنایع فرآیندی به شمار میروند. این دستگاهها با بهرهگیری از اصل نیروی کوریولیس، امکان اندازهگیری دقیق جریان جرمی، چگالی و دمای سیال را فراهم میکنند. در این مقاله، به بررسی اصول عملکرد فلومترهای Promass، شرایط نصب صحیح، الزامات فشار سیستم، محدودههای اندازهگیری، روشهای نگهداری پیشگیرانه و کالیبراسیون پرداخته میشود. همچنین نکات مهمی درباره مهاجرت از مدلهای قدیمی به نسخههای جدید و مدیریت قطعات یدکی ارائه خواهد شد. هدف این راهنما، کمک به مهندسان و متخصصان ابزار دقیق برای افزایش دقت اندازهگیری، کاهش ریسک توقف فرآیند و بهینهسازی چرخه عمر تجهیزات است.
آموزش ابزار دقیق: راهنمای نصب فلومترهای جرمی Promass
فلومترهای جرمی سری Promass محدوده فعلی فلومترهای جرمی Endress+Hauser شامل مدلهای Proline Promass 80، Promass 83 و Promass 40 میباشد. در این بخش، اطلاعات و توصیههای ضروری ارائه شده است که به شما کمک میکند تا پیگیری و نگهداری بهینه فلومترهای Promass خود را در طول چرخه عمرشان انجام دهید. «اطمینان حاصل کنید که پدیده کاویتاسیون رخ ندهد!»
اصل اندازهگیری – Measuring principle
اصل اندازهگیری بر پایه تولید کنترلشده نیروهای کوریولیس بنا شده است. این نیروها همیشه زمانی وجود دارند که حرکت انتقالی و چرخشی بهصورت همزمان در سیستم رخ دهد. فرمول نیرو بهصورت زیر است:
FC = 2 × ∆m × (v × w) FC = نیروی کوریولیس ∆m = جرم در حال حرکت w = سرعت زاویهای v = سرعت شعاعی در سیستم چرخشی یا نوسانی
دامنه نیروی کوریولیس به جرم در حال حرکت (∆m)، سرعت آن در سیستم (v) و در نتیجه به جریان جرمی بستگی دارد. بهجای استفاده از سرعت زاویهای ثابت (w)، حسگرهای Promass از نوسان استفاده میکنند. در حسگرهای Promass F و M، دو لوله اندازهگیری موازی که سیال در آنها جریان دارد، بهصورت ضدفاز نوسان میکنند و مانند یک دیاپازون عمل میکنند. نیروهای کوریولیس ایجادشده در این لولهها باعث ایجاد اختلاف فاز در نوسان آنها میشود:
• در حالت جریان صفر، یعنی زمانی که سیال ساکن است، دو لوله بهصورت همفاز نوسان میکنند (مرحله ۱)
• جریان جرمی باعث کاهش سرعت نوسان در ورودی لولهها (مرحله ۲) و افزایش سرعت نوسان در خروجی آنها میشود (مرحله ۳)
اختلاف فاز (A-B) با افزایش جریان جرمی بیشتر میشود. حسگرهای الکترودینامیکی نوسانات لولهها را در ورودی و خروجی ثبت میکنند. تعادل سیستم از طریق نوسان ضدفاز دو لوله اندازهگیری تضمین میشود. این اصل اندازهگیری مستقل از دما، فشار، ویسکوزیته، هدایت الکتریکی و پروفیل جریان عمل میکند.
توجه:
در مدلهای Promass I، S و P، تعادل سیستم مورد نیاز برای اندازهگیری دقیق از طریق تحریک یک جرم نوسانی با آرایش خارج از مرکز به نوسان ضدفاز ایجاد میشود. این سیستم ثبتشده با نام TMB (سیستم تعادل در حالت پیچشی) اندازهگیری دقیق را حتی در شرایط متغیر فرآیندی و محیطی تضمین میکند.
لوله اندازهگیری بهطور پیوسته در فرکانس تشدید خود تحریک میشود. تغییر در جرم و در نتیجه چگالی سیستم نوسانی (شامل لوله اندازهگیری و سیال) منجر به تنظیم خودکار فرکانس نوسان میشود. فرکانس تشدید تابعی از چگالی سیال است. پردازنده مرکزی از این رابطه برای استخراج سیگنال چگالی استفاده میکند. دمای لوله اندازهگیری نیز اندازهگیری میشود تا ضریب جبرانی ناشی از اثرات دما محاسبه گردد. این سیگنال معادل دمای فرآیند است و بهعنوان خروجی نیز در دسترس میباشد.
شرایط نصب – Installation conditions
علاوه بر دستورالعملهای نصب عمومی برای تمام تکنولوژیها (به بخش «مبانی» مراجعه کنید)، در اینجا الزامات خاص نصب برای فلومترهای جرمی آورده شده است:
هنگام استفاده از لوله اندازهگیری خمیده و نصب افقی، موقعیت حسگر باید با ویژگیهای سیال هماهنگ باشد.
نصب افقی برای حسگرهایی با لوله اندازهگیری خمیده:
۱. برای سیالات دارای ذرات جامد معلق مناسب نیست. خطر تجمع ذرات جامد وجود دارد.
۲. برای سیالاتی که گاز از آنها خارج میشود مناسب نیست. خطر تجمع هوا وجود دارد.
فشار سیستم مهم است که از وقوع کاویتاسیون جلوگیری شود، زیرا این پدیده بر نوسان لوله اندازهگیری تأثیر میگذارد. برای سیالاتی که ویژگیهایی مشابه آب در شرایط معمول دارند، نیازی به اقدامات خاص نیست.
در مورد مایعات با نقطه جوش پایین (مانند هیدروکربنها، حلالها، گازهای مایعشده) یا در خطوط مکش، باید اطمینان حاصل شود که فشار از فشار بخار کمتر نشود و مایع شروع به جوشیدن نکند. همچنین باید از خروج گازهای طبیعی موجود در بسیاری از مایعات جلوگیری شود. این اثرات زمانی قابل پیشگیری هستند که فشار سیستم به اندازه کافی بالا باشد.
بنابراین، مکانهای زیر برای نصب ترجیح داده میشوند:
• بعد از پمپها (بدون خطر خلأ)
• در پایین ترین نقطه یک لوله عمودی
محدودههای اندازهگیری توصیهشده: محدودیت جریان لطفاً به بخش «محدوده اندازهگیری» در مستندات «اطلاعات فنی» مراجعه کنید.
قطر اسمی را با بهینهسازی بین محدوده جریان مورد نیاز و افت فشار مجاز انتخاب کنید. برای مشاهده لیست مقادیر حداکثر ممکن در مقیاس کامل، به همان بخش مراجعه نمایید.
• مقدار توصیهشده حداقل برای مقیاس کامل تقریباً برابر با ۱/۲۰ مقدار حداکثر مقیاس کامل است.
• در بیشتر کاربردها، ۲۰ تا ۵۰ درصد مقدار حداکثر مقیاس کامل ایدهآل در نظر گرفته میشود.
• برای مواد ساینده مانند سیالات دارای ذرات جامد معلق، مقدار مقیاس کامل پایینتری انتخاب کنید (سرعت جریان کمتر از ۱ متر بر ثانیه).
• برای اندازهگیری گازها، قوانین زیر اعمال میشود: – سرعت جریان در لولههای اندازهگیری نباید بیشتر از نصف سرعت صوت باشد (۰.۵ ماخ) – حداکثر جریان جرمی به چگالی گاز بستگی دارد. فرمول زیر را ببینید:
محدودههای اندازهگیری برای گازها مقادیر مقیاس کامل به چگالی گاز بستگی دارد. برای محاسبه مقادیر مقیاس کامل از فرمول زیر استفاده کنید:
mmax(G) = mmax(F) × r(G) / 160 [kg/h]
که در آن: mmax(G) = مقدار حداکثر مقیاس کامل برای گاز [کیلوگرم بر ساعت] mmax(F) = مقدار حداکثر مقیاس کامل برای مایع [کیلوگرم بر ساعت] r(G) = چگالی گاز در شرایط عملیاتی [کیلوگرم بر متر مکعب]
توجه: مقدار mmax(G) هرگز نمیتواند بیشتر از mmax(F) باشد.
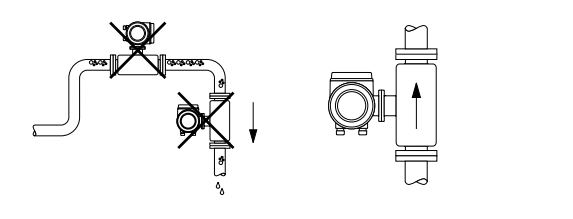
مکان نصب برای اتصالاتی که باعث ایجاد آشفتگی در جریان میشوند (مانند شیرها، زانوییها، سهراهیها و غیره)، نیازی به اقدامات خاص نیست، به شرطی که کاویتاسیون رخ ندهد.
وجود هوا یا حبابهای گاز در لوله اندازهگیری میتواند باعث افزایش خطای اندازهگیری شود. بنابراین از مکانهای زیر در نصب لولهکشی اجتناب کنید:
• بالاترین نقطه یک خط لوله (خطر تجمع هوا)
• دقیقاً قبل از خروجی آزاد لوله در یک خط لوله عمودی
توجه:
نصب عمودی با جهت جریان رو به بالا توصیه میشود. زمانی که سیال جریان ندارد، ذرات جامد تهنشین میشوند و گازها از لوله اندازهگیری دور میشوند. لولههای اندازهگیری میتوانند بهطور کامل تخلیه شده و در برابر تجمع ذرات جامد محافظت شوند.
راهاندازی – پیکربندی تمام فلومترهای سری Proline دارای برنامه «راهاندازی سریع» برای راهاندازی ساده هستند. مدل Promass 83 نیز برنامه راهاندازی سریع ویژه برای کاربردهای خاص ارائه میدهد.
عملیات و نگهداری (نگهداری پیشگیرانه) فلومترهای جرمی
فلومترهای جرمی به دلیل نداشتن قطعات متحرک، نیاز بسیار کمی به نگهداری پیشگیرانه دارند. با این حال، شرایط فرآیندی مختلف میتواند بر طول عمر و دقت دستگاه Promass شما تأثیر بگذارد؛ از جمله: محیطهای خورنده و ساینده، دمای بالا در بخش الکترونیکی، و تنشهای ناشی از ارتعاشات در کل دستگاه.
علاوه بر این، دقت اندازهگیری ممکن است تحت تأثیر عوامل زیر قرار گیرد:
- رسوب مواد در لوله اندازهگیری
- ناهمگونی در ترکیب سیال
- وجود حبابهای گاز
- ذرات جامد معلق
اگر با یکی از این شرایط مواجه هستید، برنامهریزی برای بازرسیهای دورهای میتواند بهطور چشمگیری خطر توقف فرآیند را کاهش دهد. دو روش ساده برای بررسی عملکرد فلومتر جرمی وجود دارد:
۱. تنظیم نقطه صفر
تمام دستگاههای اندازهگیری با فناوری روز کالیبره شدهاند. نقطه صفر تعیینشده در این فرآیند روی پلاک مشخصات دستگاه درج میشود. کالیبراسیون تحت شرایط مرجع انجام میشود، بنابراین تنظیم نقطه صفر معمولاً ضروری نیست.
با این حال، تجربه نشان داده است که تنظیم نقطه صفر در موارد خاص توصیه میشود:
- زمانی که بالاترین دقت اندازهگیری مورد نیاز است و نرخ جریان بسیار پایین است
- در شرایط فرآیندی یا عملیاتی شدید (مانند دمای بسیار بالا یا سیالات با ویسکوزیته بالا)
نحوه بررسی نقطه صفر:
- ابتدا مقدار قطع جریان پایین (Low Flow Cutoff) را روی صفر تنظیم کرده و لوله را ببندید
- سپس در حالی که جریان در لوله قطع شده است، مقدار نمایش دادهشده را بررسی کنید. در این حالت، نمایشگر باید عدد “0.00” را نشان دهد و پایدار باشد.
۲. مقایسه چگالی واقعی و نمایش دادهشده
تنها کافی است چگالی سیالی که در لوله جریان دارد را بدانید (مثلاً چگالی آب در دمای ۲۰ درجه سانتیگراد برابر با ۰.۹۹۸ کیلوگرم بر دسیمتر مکعب است). نیازی به توقف جریان نیست. چگالی نمایش دادهشده را با چگالی واقعی سیال مقایسه کنید. مقدار نمایش دادهشده باید پایدار و در محدوده تلورانس قابل قبول باشد.
توجه: برای دستیابی به نتایج دقیق در این دو روش، وجود نداشتن حبابهای هوا یا گاز در سیال ضروری است.
برای بررسی کامل عملکرد Promass، از ابزارهای تخصصی استفاده میشود که پارامترهای داخلی الکترونیک و اجزای حسگر را بهطور کامل بررسی میکنند (شرح کامل ابزار FieldCheck® در صفحه ۳۱).
قراردادهای خدماتی ما میتوانند شامل این نوع بررسیها باشند – انجام آن حداقل یکبار در سال توصیه میشود (به بخش «قراردادهای خدماتی» در قسمت «در خدمت شما» مراجعه کنید).
کالیبراسیون
کالیبراسیون میتواند توسط تیم ما بهصورت حضوری یا در آزمایشگاههای معتبر ما انجام شود (به بخش «کالیبراسیون» مراجعه کنید).
دسترسی به ابزار و قطعات یدکی
موجودی قطعات یدکی: برای هر فلومتر از خانواده Proline، توصیه میشود یک مجموعه کامل از ماژولهای الکترونیکی در انبار داشته باشید.
مهاجرت
در مورد مدلهای Promass 60 و 63، حسگر در هر صورت قابل جایگزینی با نسخه جدید است. برد الکترونیکی نیز باید همزمان تعویض شود (برای دستگاههای Rackbus و DZL363 لطفاً با ما مشورت کنید). Endress+Hauser کیتهای ارتقاء شامل قطعات مکانیکی و پلاک مشخصات جدید ارائه میدهد.
بازطراحی
پیش از استفاده از فلومتر جرمی در یک کاربرد جدید، باید افت فشار را در نظر گرفت. افت فشار به ویژگیهای سیال و نرخ جریان بستگی دارد. برای محاسبه افت فشار، لطفاً به دستورالعملهای عملیاتی مراجعه کنید.
در صورت نیاز به اطلاعات بیشتر درباره موجودی قطعات یدکی، لطفاً با خط ویژه ما تماس بگیرید: 317-642-8737
اگر مایل باشید، میتوانم این ترجمه را در قالب مقاله آموزشی با عنوان و URL مناسب برای انتشار آماده کنم. دوست دارید ادامهاش را به چه صورت تنظیم کنیم؟









